澳门游戏娱乐场棋牌
风风棋牌跑胡子最新版本
- ECSG电蒸汽发生器 E6-72M系列安装操作说明
- 棋牌平台EVC Turflow 换热器使用说明书
- 棋牌平台BT6-B 洁净型压力平衡式最全棋牌平台特点介绍
- 棋牌平台BCV1和BCV20 排污控制阀使用说明书
- 棋牌平台BC3250排污控制器安装使用说明书
联系我们
联系人:刘经理
手机:13295105805
电话:
邮箱:540329100@qq.com
地址:13295105805
棋牌平台BRV2S5和BRV2B5炮铜减压阀
所属栏目:棋牌平台减压阀
发布时间:2024-08-06
关注度:282次
简单介绍:棋牌平台BRV2S5和BRV2B5炮铜减压阀简介:BRV2S5和BRV2B5直接作用式减压阀,可用于蒸汽或气体,如压缩空气系统。请按阀体上的箭头流向,将减压阀安装在水平管道上。可供型号选择BRV2S5 不锈钢波纹管BRV2B5 磷青铜/黄铜波纹管减压阀有三种颜色型号弹簧,在调节手轮上的标志牌(18)上标明。灰色 下游控制压力范围 0.14 - 1.7 bar
棋牌平台BRV2S5和BRV2B5炮铜减压阀简介:
BRV2S5和BRV2B5直接作用式减压阀,可用于蒸汽或气体,如压缩空气系统。请按阀体上的箭头流向,将减压阀安装在水平管道上。
可供型号选择
BRV2S5 不锈钢波纹管
BRV2B5 磷青铜/黄铜波纹管
减压阀有三种颜色型号弹簧,在调节手轮上的标志牌(18)上标明。
灰色 下游控制压力范围 0.14 - 1.7 bar g
绿色 下游控制压力范围 1.40 - 4.0 bar g
橙色 下游控制压力范围 3.50 - 8.6 bar g
注意:控制弹簧范围有重叠时,用较低范围弹簧控制效果更好。
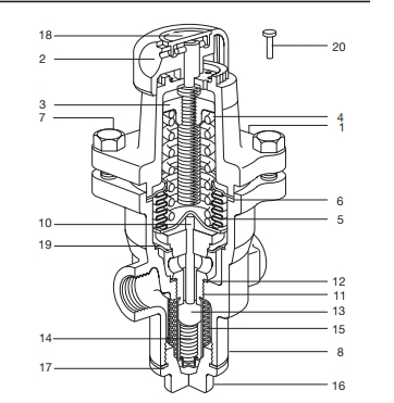
BRV2S5和BRV2B5炮铜减压阀结构图:

BRV2S5和BRV2B5炮铜减压阀技术参数:
阀体设计条件 PN25
PMA 最大允许压力 25 bar g @ 120°C
TMA 最大允许温度 210°C @ 17 bar g
最低允许温度 0°C
PMO 饱和蒸汽下 最大工作压力 17 bar g @ 210°C
TMO 最大工作温度 210°C @ 17 bar g
最小工作温度 0°C
注:低于此温度,请咨询棋牌平台公司
最大下游设定压力 8.6 bar g
最大压差 17 bar
推荐最大减压比(最大流量下) 10 : 1
设计最大冷态水压试验压力 38 bar g
BRV2S5和BRV2B5炮铜减压阀正确选型:

BRV2S5和BRV2B5炮铜减压阀尺寸重量:



